-
-
Sherbrooke, Qc, Canada
Sherbrooke, Qc, Canada



Differential Power Angle Tilt (DPAT) Blade reduces manufacturing costs.
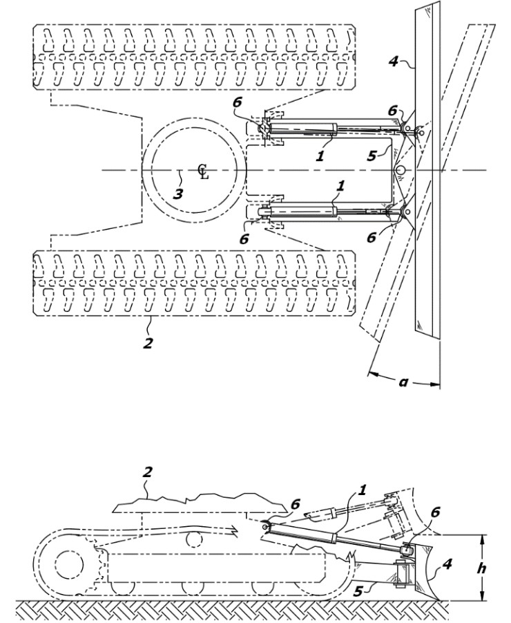
Design
The patent-pending Differential Power Angle Tilt (DPAT) dozer attachment is a streamlined design that reduces the number of parts while maintaining optimal performance and quality. Its primary benefit is the reduction in manufacturing costs. The cost reduction is primarily attributable to the use of three actuators instead of five. The C-frame welded assembly has fewer parts as well. The DPAT utilizes proven and reliable technologies and is also symmetrical for aesthetic appeal.
Conventional PAT (left) vs. Differential PAT (right)
Cost saving
It is estimated that the cost savings will be $2,450 for a 130-horsepower dozer, which is the best-selling HP class in the United States. Savings are expected to range from $1,900 for small 100-horsepower units to $3,000 for larger 175-horsepower machines.
Prior Art and Intellectual Property
The DPAT applies to earthmoving equipment, where many differential mechanisms have been developed over the years, although not named as such. The first mechanism is the Differential Blade Lift and Tilt Mechanism, which is used on road graders.
Road Grader Differential Lift and Tilt Mechanism
A Differential Blade Lift and Tilt Mechanism have been patented for bulldozers in the past; however, they have not yet been introduced to the market. Some large dozers are equipped with a Differential Blade Tilt and Pitch Mechanism, also known as Dual Tilt dozers.
Differential Blade Tilt and Pitch Mechanism
Regarding the DPAT, a United States Patent Application was submitted on January 20, 2023. Shortly thereafter, a foreign patent filing license was granted on March 6, 2023. The International Searching Authority's (PCT) written opinion of March 22, 2024, states that all claims are novel, inventive, and applicable to the industry. This intellectual property is available for licensing.
Performance
A preliminary design was created. It uses the same hydraulic actuator bore and rod diameters as the conventional PAT to which it is compared. The length of the actuators and the location of their mounting points to the tractor were the only components altered. In this particular case study, the mounting points were elevated by 2.75 inches and shifted forward by 1.5 inches. This is to recover lost leverage from mounting the main actuators directly on the blade instead of the C-frame. Additionally, the hydraulic system operating pressure was increased by 1.0% for the DPAT blade digging force to match its conventional PAT counterpart. Hense, the preliminary design study showed that a DPAT can be fitted to existing tractors with little hardware modifications. The tilt mechanism remained unchanged.
While the DPAT is considerably less expensive to manufacture, it faces two challenges that can be overcome: blade float function and blade moving envelop.
Float function
Given that the DPAT utilizes the same two actuators for blade lift and angle, relaxing the hydraulic pressure in these actuators would lead to blade lift and angle float. While angle float is not an acceptable condition, there are solutions to address this issue. First, dozers operating in Automatic Machine Control mode do not require blade float. Second, when operating a Controlled dozer in Manual mode, a blade float function can be programmed into the machine's computer software so that the blade automatically follows the measured terrain as the dozer reverses. Thirdly, standard dozers would require a blade angle sensor, along with the development of real-time blade angle control. In this scenario, one actuator can be relaxed while the other actively controls the blade angle, allowing the blade to float freely. In all cases, the challenge of the blade float function is addressed through software.
Blade lift and angle limits
Standard PAT dozers feature a "square" blade moving envelope. In summary, blade angling remains consistent across all blade heights. This is due to the blade's movement being constrained by the lengths of the open and closed actuators.
In the case of the DPAT, the maximum blade angle varies with blade lift. In fact, if blade movements were limited only by the open and closed lengths of the main actuators, no angle would be possible at either minimum or maximum height. To achieve blade angling at maximum lift, it is necessary to add an external stop between the C-frame and the tractor frame. External stops are installed on articulated wheel loaders and articulated off-road dump trucks to restrict the steering angle. Some mini excavators also use stops to restrain blade angle.
External stops on articulated dump truck (left) and mini excavator blade (right)
It is important to note that if the C-frame is limited to a given height while the actuators are not fully closed, blade angling at that maximum blade lift will be possible. At this point, the maximum angle is determined by the closed length of the retracted actuator. At ground level, the maximum angle may be limited by the open length of the extended actuator. The maximum blade digging depth may be limited by the open length of both actuators. At that point, no angling is possible, unless another stop is added on the C-frame. To prevent wear on the external stops, numerical limits can be programmed into the machine control software.
Assembly line
The DPAT has fewer components to install. The reduction in installation time leads to a decrease in manufacturing costs. Additionally, C-frames without actuator mounts are more stackable, which can lead to cost savings in transportation and storage. When assembling the dozer attachment to the tractor, it is expected that only the addition of a temporary hook will be required between the tractor and the C-frame. This will keep the C-frame off the ground until the blade is fully installed.
Excavators
This innovative Differential Lift and Angle Blade design is also applicable to excavators.
Differential Lift and Angle Blade on a mini excavator
Bottom line
The innovative Differential Power Angle Tilt (DPAT) dozer blade reduces manufacturing costs in a number of ways. First, it has fewer components. Secondly, it reduces the assembly time on the production line. Thirdly, C-frames without actuator mounts offer enhanced stackability, making them more convenient for transportation and storage. It is estimated that the cost savings will be $2,450 for a 130-horsepower dozer. Road graders have benefited from Differential Blade Lift and Tilt Mechanisms for decades. The next step is the DPAT on dozers.